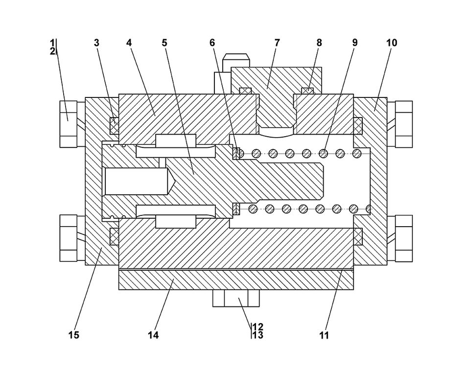
Клапан 0901-15-3СБ
Уважаемые клиенты! В связи с изменением цен на некоторые товары, просим уточнять стоимость у менеджера, эл. почта: info@rtk-21.ru
Уважаемые клиенты! В связи с изменением цен на некоторые товары, просим уточнять стоимость у менеджера, эл. почта: info@rtk-21.ru
|
Группа 15. Клапан
|
есть |